试题详情
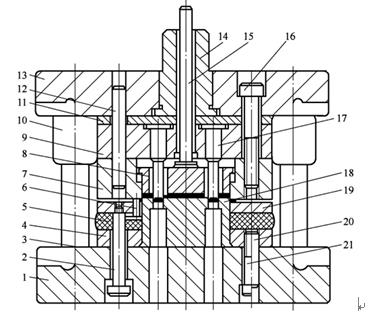
- 简答题 请画出生产下图所示零件的冲孔落料复合模具草图,并标注其主要零件,说明该模具由哪六大类零部件组成,所标注的零件分别属于哪类零部件。
-
1是下模座
2是卸料螺钉
3是导柱
4是凸凹模固定板
5是橡胶
6是导料销
7是落料凹模
8是推件块
9是冲孔凸模固定板
10是导套
11是垫板
12是20-销钉
13是上模座
14是模柄
15-打杆
16是21-螺钉
17是冲孔凸模
18是凸凹模
19是卸料板
关注下方微信公众号,在线模考后查看
热门试题
- 将研具表面嵌入磨料或敷涂磨料并添加润滑剂
- 工序集中
- 切削过程中发生的振动现象有()、()和自
- 型腔电火花加工常用的电极材料有();()
- 拉深模试冲时,制件起皱,产生的原因有()
- 什么叫钢结硬质合金?有哪些特点?
- 试做弯曲变形区应力应变定性分析。
- 评价电火花加工工艺效果的指标有哪些?各个
- 分散装配的特点是()
- 光整加工的主要任务是提高零件表面质量,一
- 重载冷冲模主要失效形式是崩刃,折断,因此
- 电火花线切割加工编程时当圆弧的终点靠近X
- 为了实现小设备冲裁大工件或使冲裁过程平稳
- 关于低碳钢与合金钢在相同温度下渗硼速度的
- 仿形铣可分为()仿形和()仿形两种加工方
- 修配装配法
- 在电火花加工中,为使脉冲放电能连续进行,
- 坐标磨床的运动有()、()和()。
- 分析如图两个冲裁件的特点,确定其采用什么
- 设计基准